Tuleja amortzatora

Isuzu Trooper/Bighorn, Opel Monterey, Holden Jackaroo, Honda Horizon, Acura SLX

Tuleja amortzatora

Postprzez MagurMan » 04 maja 2014, 16:22

Mam taki problem - amotryzator sam w sobie jest sprawny, ale wybiła się tuleja gumowa u dołu amorka przedniego lewego. Zdarzyło się wam kiedyś coś takiego? Nie wiecie czy jest w ogóle opcja nabijania takiej tulei (gdzie ją dostać) czy od razu wymieniać oba amortyzatory?
MagurMan
 
Posty: 104
Dołączył(a): 13 maja 2013, 21:59

Re: Tuleja amortzatora

Postprzez FFK » 04 maja 2014, 16:33

Ja wymieniałem te gumki w VW T4. W dwóch punktach mi mówili, że nie są wymienialne i trzeba całego amorka zmienić, ale w następnym warsztacie powiedziałem co i jak i dostałem odpowiednie gumki za kilka zł. Poszukasz i coś dobierzesz.
Isuzu Trooper 2000r 4JG2 :)

Był:
Opel Monterey 3,2 V6 1993r. - zepsuty w AB Servis :(
Avatar użytkownika
FFK
 
Posty: 730
Dołączył(a): 02 paź 2012, 20:12
Lokalizacja: Krosno Odrzańskie

Re: Tuleja amortzatora

Postprzez danti » 04 maja 2014, 22:26

TedGum, kupowałem, kilka zł/sztuka,

Musiałem lekko podocinać tylko, bo wycięty był za wąski rowek na mocowanie amortyzatora, ale ogólnie działało bez problemów.
Adrenaline rush!
Honda Shadow VT 1100

Był...
Opel Monterey LTD 3.1TD
http://www.roztocze4x4.pl
Facebook
Avatar użytkownika
danti
 
Posty: 1867
Dołączył(a): 10 paź 2010, 21:35
Lokalizacja: Zamość

Re: Tuleja amortzatora

Postprzez pocieszny » 05 maja 2014, 08:25

DRM
kupujesz polibusze do amortyzatorów, i problem na kilka chwil znika, przy twardych amorach gumki wybiają się masakrycznie, u mnie wymiana ze 2 razy w roku
Maxiu 2,5 biturbo :)21
Patrol 4,2 :)21
pocieszny
 
Posty: 3923
Dołączył(a): 30 paź 2010, 18:39
Lokalizacja: Jordanów

Re: Tuleja amortzatora

Postprzez MagurMan » 05 maja 2014, 10:24

dzieki wielkie, kamien z serca ;)
MagurMan
 
Posty: 104
Dołączył(a): 13 maja 2013, 21:59

Re: Tuleja amortzatora

Postprzez Grafff » 10 maja 2014, 16:52

Ja wbiłem do swoich amorów tuleje z resora od malucha
Trooper 2,8TDI, XJ 4.0,Terrano I 2.4,Monterey 3,1 LSD,Trooper 3,0LSD, Monterey 3,1(po raz drugi ) ,Pathfinder R50 3,5 250HP , Montero 3,5, Monterey3,1(po raz trzeci:) )
Dwa koła Tw200,XR 125,Crm 80,Kx250,Dr350,Lc4 400, DRZ400Y
Avatar użytkownika
Grafff
 
Posty: 140
Dołączył(a): 21 sty 2009, 20:44
Lokalizacja: Kraków/Wieliczka

Re: Tuleja amortzatora

Postprzez MagurMan » 09 cze 2014, 08:07

tedgum nie prowadzi juz sprzedaży dla osob indywidualnych ale zamówiłem przez sklep i przestalo stukac.
dzieki
MagurMan
 
Posty: 104
Dołączył(a): 13 maja 2013, 21:59

Re: Tuleja amortzatora

Postprzez leleb5 » 06 mar 2016, 15:39

Czy tuleja dolna amortyzatora przedniego produkcji TedGum (do Troopera 92-98) będzie pasowała do 98-02.
Jeśli ktoś ma możliwość zmierzenia oka w amortyzatorze 98-02 (średnica oraz szerokość) prosiłbym o podanie wymiarów.
leleb5
 
Posty: 31
Dołączył(a): 03 sty 2012, 22:09
Lokalizacja: Giżycko Warmińsko-Mazurskie

Re: Tuleja amortzatora

Postprzez Quentil » 06 mar 2016, 18:59

Amory są takie same, więc i tuleja powinna pasować.
6VE1...
Quentil
 
Posty: 1025
Dołączył(a): 26 paź 2012, 22:07
Lokalizacja: PL

Re: Tuleja amortzatora

Postprzez PiotrR » 06 mar 2016, 21:43

Średnic wewnętrzna tulei 13mm średnica zewnętrzna gumy 38mm.Amortyzatory Ironman. Mam już trzeci komplet amorów na przodzie nigdy nie było problemów z montażem, bez względu na rocznik.
Takie kombi 3.1
PiotrR
 
Posty: 2154
Dołączył(a): 30 cze 2011, 20:20
Lokalizacja: WGM

Re: Tuleja amortzatora

Postprzez pocieszny » 07 mar 2016, 15:15

serio, poszukaj oryginału
Maxiu 2,5 biturbo :)21
Patrol 4,2 :)21
pocieszny
 
Posty: 3923
Dołączył(a): 30 paź 2010, 18:39
Lokalizacja: Jordanów

Re: Tuleja amortzatora

Postprzez leleb5 » 07 mar 2016, 22:20

Dolne tuleje amortyzatora przedniego nie istnieją jako część zamienna. Pozostaje TedGum lub nowy amortyzator. Czy ktoś montował tuleje z innych pojazdów ?
leleb5
 
Posty: 31
Dołączył(a): 03 sty 2012, 22:09
Lokalizacja: Giżycko Warmińsko-Mazurskie

Re: Tuleja amortzatora

Postprzez mcgiver » 08 mar 2016, 01:49

jak bym miał ten problem co Ty to kupiłbym taki silenblok z poloneza i zewnetrzną srednice skompensował wytoczoną i nabitą tulejką.
stosowałem je do wykonania kilku mocnych przegubów elastycznego wału w bmw, bo oryginały nie wyrabiały w e34 przy ostrym traktowaniu m50b25.
no ale niewiem czy masz dostep do obrabiarek.
zresztą tu nawet jest aukcja z tuleją do tropera http://allegro.pl/listing/listing.php?o ... t-1-1-0204
dziwkowóz E36 KABRIO ZMODZONY STROKER M50B29
coupe m54b30
e30 M10B18 wąska youngtimer
fortwo 750turbo-daily
Polift 3,5
od dużej pojemności lepsza jest jedynie jeszcze większa..
tylni napęd jest jak sex; po co jechać na ręcznym jak można dać w pizdę
Avatar użytkownika
mcgiver
 
Posty: 2630
Dołączył(a): 26 lut 2015, 22:18
Lokalizacja: żywiec

Re: Tuleja amortzatora

Postprzez freefly » 08 mar 2016, 02:36

leleb5 napisał(a):Dolne tuleje amortyzatora przedniego nie istnieją jako część zamienna. Pozostaje TedGum lub nowy amortyzator. Czy ktoś montował tuleje z innych pojazdów ?



W ogóle to przednie amortyzatory z tulejami w katalogu występują jako jeden element i nie występowały jako części zamienna Genuine OEM. W katalogu oznaczone jako niesprzedawane oddzielnie (amortyzatory rzecz jasna jako całość).
3.0 2000r.
freefly
 
Posty: 675
Dołączył(a): 18 paź 2009, 17:37
Lokalizacja: Warszawa

Re: Tuleja amortzatora

Postprzez pocieszny » 08 mar 2016, 08:40

problem jest identyczny w większości amorów, w Koni też zamiennika nie ma, ja mam wprasowaną tuleje mocowania silnika z jakiegoś chińskiego skutera, na razie działa :)21
już ponad pół roku
górne podkładki wybijają się regularnie co 4-5 miesięcy :(
Maxiu 2,5 biturbo :)21
Patrol 4,2 :)21
pocieszny
 
Posty: 3923
Dołączył(a): 30 paź 2010, 18:39
Lokalizacja: Jordanów

Re: Tuleja amortzatora

Postprzez mcgiver » 08 mar 2016, 09:10

widzę żle link gdzieś mi wcięło , pisałem o tych silenblokach
http://archiwum.allegro.pl/oferta/tulej ... 77702.html
dziwkowóz E36 KABRIO ZMODZONY STROKER M50B29
coupe m54b30
e30 M10B18 wąska youngtimer
fortwo 750turbo-daily
Polift 3,5
od dużej pojemności lepsza jest jedynie jeszcze większa..
tylni napęd jest jak sex; po co jechać na ręcznym jak można dać w pizdę
Avatar użytkownika
mcgiver
 
Posty: 2630
Dołączył(a): 26 lut 2015, 22:18
Lokalizacja: żywiec

Re: Tuleja amortzatora

Postprzez freefly » 08 mar 2016, 12:13

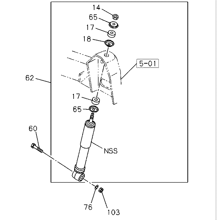
pocieszny napisał(a):górne podkładki wybijają się regularnie co 4-5 miesięcy :(


Które? Nr 65 i 18 ?
Załączniki
IW450A0250775.gif
IW450A0250775.gif (9.03 KiB) Przeglądane 15475 razy
Ostatnio edytowano 08 mar 2016, 14:12 przez freefly, łącznie edytowano 1 raz
3.0 2000r.
freefly
 
Posty: 675
Dołączył(a): 18 paź 2009, 17:37
Lokalizacja: Warszawa

Re: Tuleja amortzatora

Postprzez leleb5 » 08 mar 2016, 12:50

65 i 18 są to talerzyki-podkładki między którymi pracują gumowe podkładki nr 17. Te podkładki tłumią drgania na ramę.
leleb5
 
Posty: 31
Dołączył(a): 03 sty 2012, 22:09
Lokalizacja: Giżycko Warmińsko-Mazurskie

Re: Tuleja amortzatora

Postprzez pocieszny » 08 mar 2016, 14:31

17 padają w każdym który ma większą gumę i mocniejszy amor
nie ma szans żeby wytrzymywały :)3
Maxiu 2,5 biturbo :)21
Patrol 4,2 :)21
pocieszny
 
Posty: 3923
Dołączył(a): 30 paź 2010, 18:39
Lokalizacja: Jordanów

Re: Tuleja amortzatora

Postprzez mcgiver » 08 mar 2016, 14:43

no to może dajcie większe średnice talerzyków i gum skoro macie mocniejsze amory , siła się rozłoży na większą powierzchnie.
dziwkowóz E36 KABRIO ZMODZONY STROKER M50B29
coupe m54b30
e30 M10B18 wąska youngtimer
fortwo 750turbo-daily
Polift 3,5
od dużej pojemności lepsza jest jedynie jeszcze większa..
tylni napęd jest jak sex; po co jechać na ręcznym jak można dać w pizdę
Avatar użytkownika
mcgiver
 
Posty: 2630
Dołączył(a): 26 lut 2015, 22:18
Lokalizacja: żywiec

Re: Tuleja amortzatora

Postprzez pocieszny » 08 mar 2016, 16:08

większych się już nie da :)21
padają nawet polibusze
Maxiu 2,5 biturbo :)21
Patrol 4,2 :)21
pocieszny
 
Posty: 3923
Dołączył(a): 30 paź 2010, 18:39
Lokalizacja: Jordanów

Re: Tuleja amortzatora

Postprzez freefly » 08 mar 2016, 19:25

leleb5 napisał(a):65 i 18 są to talerzyki-podkładki między którymi pracują gumowe podkładki nr 17. Te podkładki tłumią drgania na ramę.


Część 8971201380 BUSHING RUBBER (pozycja 17 ) jest dostępne w Isuzu Europe w dużych ilościach.
Info z http://sklep.isuzu.com.pl/



Obrazek
3.0 2000r.
freefly
 
Posty: 675
Dołączył(a): 18 paź 2009, 17:37
Lokalizacja: Warszawa

Re: Tuleja amortzatora

Postprzez leleb5 » 08 mar 2016, 21:43

Wyjąłem amortyzator lewy przód. Jest to oryginalny isuzu 8-97113500-2, otwór w dolnym uchu jest o średnicy 28mm a szerokość ucha to24mm. I niestety ten ucho jest większe niż w rocznikach 92-98 dla których tuleje można dostać w TedGum. Reasumując to tuleje produkowane przez TedGum dla rocznika 92-98 nie pasują do 98-02.
Załączniki
Amortyzator Tokico trooper.png
Amortyzator Tokico trooper.png (173 KiB) Przeglądane 15431 razy
leleb5
 
Posty: 31
Dołączył(a): 03 sty 2012, 22:09
Lokalizacja: Giżycko Warmińsko-Mazurskie

Re: Tuleja amortzatora

Postprzez frendzel » 16 kwi 2016, 19:03

Odgrzeję temat.

Wyrobiła mi się tuleja górna amortyzatora tylnego. Dostanę gdzies ta tuleję? Amortyzator Ironman ale chyba powinny być takie same mocowania? Orientuje się ktoś jaki wymiar ma ta tuleja? Przyznam że nie chce mi się wyciągać amortyzatora do samego pomiaru a może u kogoś w garażu leży taki wyjęty amortyzator.
Z góry dzieki. Pozdrawiam
Isuzu Trooper 2.8-->Opel Monterey 3,1TD
frendzel
 
Posty: 299
Dołączył(a): 15 lis 2012, 21:43

Re: Tuleja amortzatora

Postprzez PiotrR » 16 kwi 2016, 22:22

Mam takowe dwie. Jutro sprawdzę w jakim stanie.
Takie kombi 3.1
PiotrR
 
Posty: 2154
Dołączył(a): 30 cze 2011, 20:20
Lokalizacja: WGM

Następna strona

Powrót do Isuzu Trooper II / Opel Monterey A (1992-1997)

Kto przegląda forum

Użytkownicy przeglądający ten dział: Brak zidentyfikowanych użytkowników i 34 gości